Das so ein leidiges Thema. Ich habe einen mit freien Platz am 2H. Ein Freund wollte den ebenfalls und hat anhand meiner TNR einen gekauft. Passt natürlich nicht obwohl es auch ein 2H.
Alles Murks
Das so ein leidiges Thema. Ich habe einen mit freien Platz am 2H. Ein Freund wollte den ebenfalls und hat anhand meiner TNR einen gekauft. Passt natürlich nicht obwohl es auch ein 2H.
Alles Murks
Das habe ich damals auch nicht verstanden, wieso VW 2 unterschiedliche 2H Blöcke hatte.
Aber manchmal ist es halt wie es ist ![]()
Das habe ich damals auch nicht verstanden, wieso VW 2 unterschiedliche 2H Blöcke hatte.
Aber manchmal ist es halt wie es ist
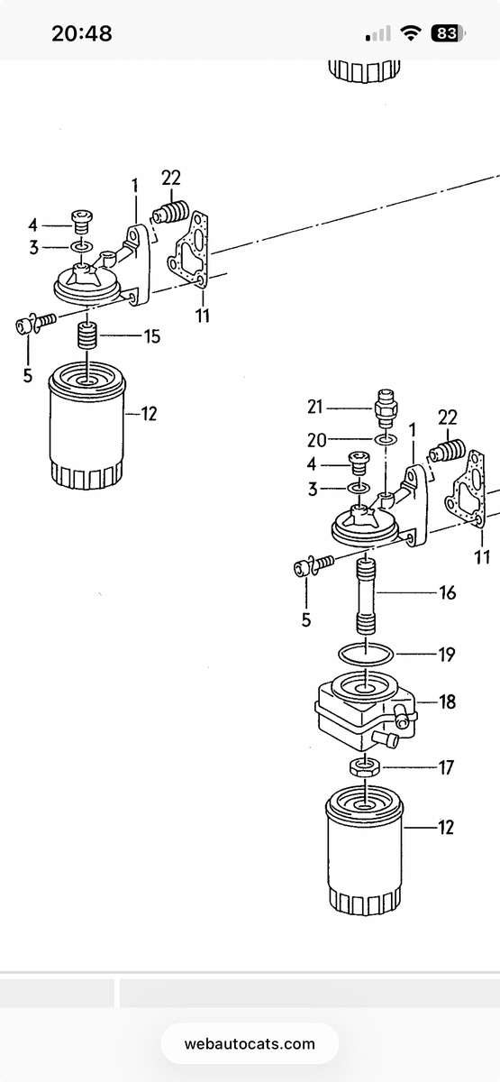
Vielleicht andere Hersteller? In der Explosionzeichnung sind auch 2 abgebildet. Allerdings ist bei dem eine nicht das Kühlelement dabei oder ist das nicht für den 2h?
hier ist der Link zu einem Beitrag von ulridos mit den zwei verschiedenen Ölfilterflanschen. Die Aufnahme am oberen Punkt wurde geändert und passt darum nur beim jeweiligen Motorblock.
Motorschaden wegen zu heißem Öl - Seite 4 - Golf 1 Cabrio - Tipps & Technik - Forum Golfcabrio.de
hier ist der Link zu einem Beitrag von ulridos mit den zwei verschiedenen Ölfilterflanschen. Die Aufnahme am oberen Punkt wurde geändert und passt darum nur beim jeweiligen Motorblock.
Motorschaden wegen zu heißem Öl - Seite 4 - Golf 1 Cabrio - Tipps & Technik - Forum Golfcabrio.de
Spannend…dann würde ich ja fast sagen dass ich den kühler mit dem 2 Gewinden habe. Meiner ist von 91.
Hallo, mein Cabrio ist auch aus 1991 und hat Anschluss am Block, der ober gerade ist. Der Wechsel des Blocks fand wohl irgendwann spät in 1991 statt. Die Teilenummer des Anschlusses für den Ölkühler ist bei beiden Varianten identisch.