Sitzlehne wackelt (Recaros)

  • Moin Leute,


    ich habe bei meinen Sportline Recaro-Sitzen das Problem das die Lehne wackelt im eingerastetem Zustand. Das merkt man auch gut bei sportlicher Fahrweise oder auch als Beifahrer beim Bremsen und Beschleunigen.


    Jetzt hab ich schon aufgeschnappt, weiß aber nicht mehr wo, das es wohl an der Kunststoffhülse liegen soll, welche leider aber nirgendwo mehr Lieferbar ist für die Recarositze.


    Also ich würde grundsätzlich alle Schrauben auch mal nachziehen, aber überlege die ganze Zeit eine Alternative. Da die Sitze eigentlich auch so gut wie nie bei uns umgeklappt werden, überlege ich eine Konstruktion aus Unterlegscheiben und Hartgummihülse etc.


    Hat wer da schon mal Abhilfe geschaffen und ne gute Idee parat? Oder eine passende Alternative aus einem anderen Sitz/Modell?

    Beste Grüße Ben

  • Spoing

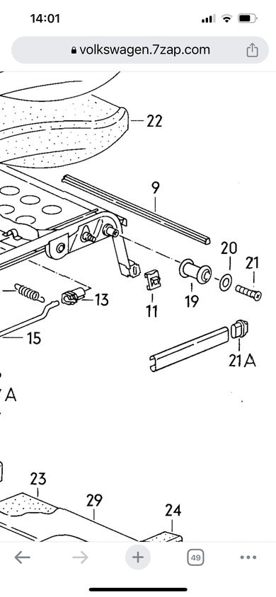
    du meinst bestimmt die Hülse Nr. 19 auf der Abbildung.


    Wenn die nicht kaputt ist, kannst du die Schraube Nr. 21 lösen und die Hülse dann um 90 Grad drehen.


    Meistens klappt das.

    golf-open-fan
    US-Cabrio 1989 "Wolfsburg Edition", Klima, Servo, 16V-Motor PL, 5Ganggetr., 16V-Auspuff, 16V-Fahrwerk, 4-Scheiben-Bremse, (alles v. 16V Scirocco 2), Ausstellfenster, schwarzes Leder; el. Fensterheber, Chrom

    Fahre ein Golf Cabrio seit 1982

  • Udo_87

    Hat den Titel des Themas von „Recaro Sitze Lehne wackelt“ zu „Sitzlehne wackelt (Recaros)“ geändert.
  • Moin, also das Problem besteht weiterhin, also auf jeden Fall sind wohl die Teile in den Schienen etwas eingelaufen, dort wackelt der Fahrersitz mehr als der Beifahrersitz.


    Aber es wirkt auch bei eingehaktem Sitz so, als ob da noch gut Spiel in der Mechanik ist, also der Verbindung zwischen Lehne und Sitzfläche. Der Sitz wackelt da nur so rum, das wirkt nicht so, als ob das so gehört.

    Beste Grüße Ben

  • Wechsel die beiden Gleitstücke aus. Schienen gut reinigen und neu fetten.

    GS aussen = 171 881 213 B

    GS innen = 191 881 213

    nordcabs.de_signatursjdt3.jpg
    gebrauchte und neue Teile auf Anfrage

  • golf-open-fan
    US-Cabrio 1989 "Wolfsburg Edition", Klima, Servo, 16V-Motor PL, 5Ganggetr., 16V-Auspuff, 16V-Fahrwerk, 4-Scheiben-Bremse, (alles v. 16V Scirocco 2), Ausstellfenster, schwarzes Leder; el. Fensterheber, Chrom

    Fahre ein Golf Cabrio seit 1982